Implementation of voice control interface for smart home automation Circuit Diagram Home automation is rapidly becoming a part of modern life, allowing us to control household appliances with minimal effort. One of the most exciting advancements in this field is voice control, where you can manage your devices using simple voice commands. In this article, we'll walk through how to design and simulate a voice-controlled home automation system using TinkerCAD, leveraging the Before this, we have built some IoT Home Automation Projects, here are some examples: IoT Based Manhole Monitoring System; Create an Android App with Android Studio to control an LED over WiFi using NodeMCU; Home Automation with Node-RED and Raspberry Pi: Control Lights & Read DHT11 Data . Components Required. Arduino UNO; HC-05 Bluetooth Module

The project is to build a Voice Control Home Automation System Using Arduino and HC-05. This project utilizes a microcontroller and Bluetooth module. A microcontroller is a compact integrated circuit designed to govern a specific operation in an embedded system. So in this system the microcontroller controls the function of the lights. An automated home automation system makes it easy to switch the Appliances just by a click through our mobiles. This system uses wireless technology to control home appliances. The Android app designed by us uses the voice commands to control the home appliances over bluetooth. Figure 1: System Design 3.SYSTEM DESIGN Home Automation PCB & Gerber File. If you don't want to assemble the circuit on a breadboard and you want PCB for the project, then here is the PCB for you. The PCB Board for the Home Automation Project is designed using EasyEDA online Circuit Schematics & PCB designing tool. The front side and back side of the PCB is given below.

PDF VOICE CONTROL SYSTEM FOR HOME AUTOMATION Circuit Diagram
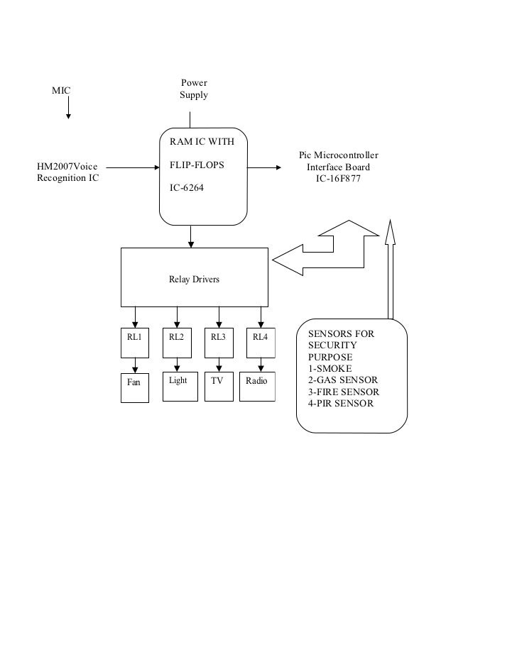
To build a smart home automation system using Arduino, you will need the following components: - Arduino UNO - Relay module - HC 05 Wireless Bluetooth Module - Lamp - 2.2k ohm resistor system for residence automation and security based on speech recognition is shown in Fig. (1). The project encompasses code as well as hardware. As a piece of hardware, it enables voice control of home appliances using voice input commands. The block diagram portrays the following components: Raspberry Pi,

Voice Controlled Home Automation Using Arduino is an exciting project that aims to automate home appliances with the power of voice commands. In this project, voice instructions will be recognised, and text-to-speech conversion will be performed using an Android app. The HC-05 module will then be used to transmit the text data via Bluetooth to an Arduino microcontroller.

Building a Voice Controlled Home Automation with Arduino Circuit Diagram
In this project, we will use wireless Bluetooth technology to control the Home Electronic Appliances through a Android Phone. Bluetooth has a range of 10-15 meters, so that you can switch ON and OFF any electronic appliance within the range. On the other hand, voice recognition wireless home automation as created an avenue for real life voice command interaction between the consumer electronics [home appliance] and the consumers/users